Yamaha hallintalaitteen asennussarja 65W-48501-00

65W-48501-00 / 65W4850100


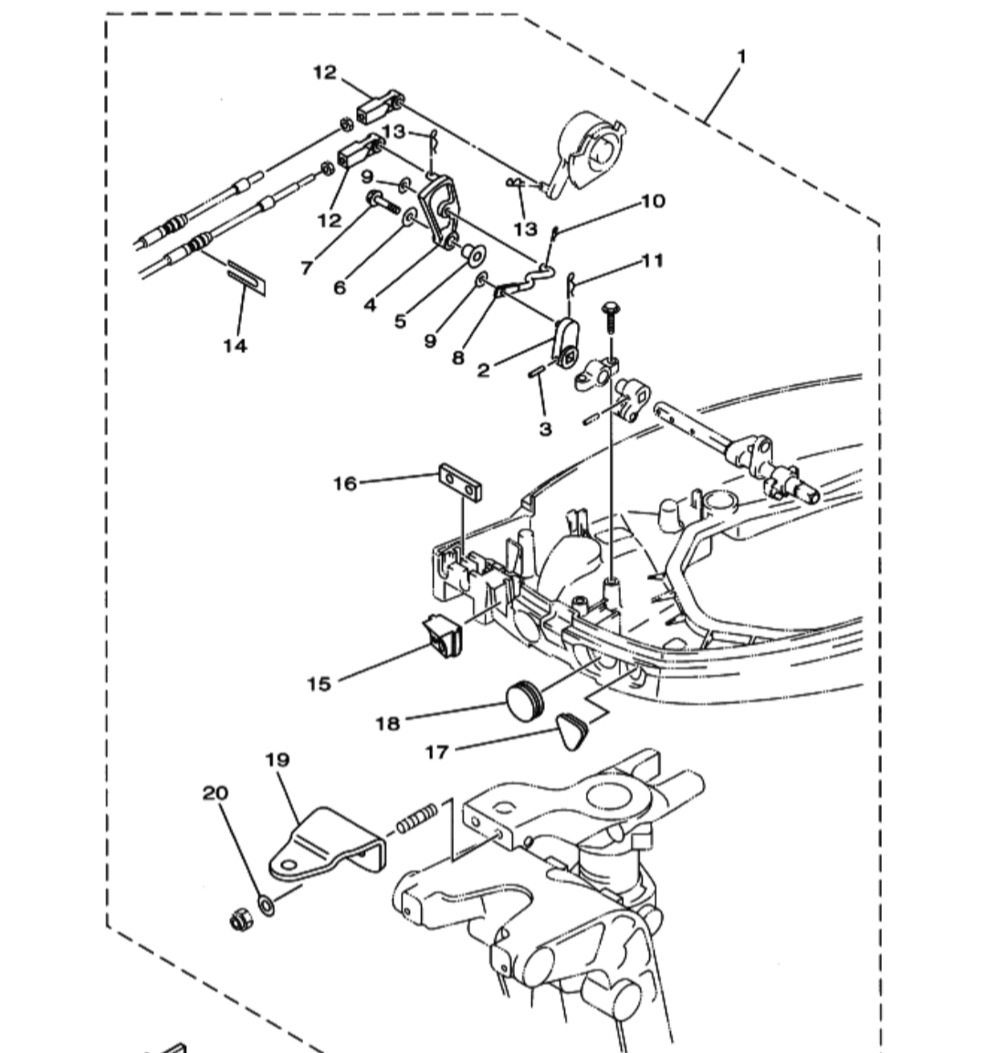
YAMAHA HALLINTALAITTEEN ASENNUSSARJA F15/F20A/F25A 

110,00 €
Varastossa